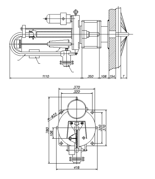
Аппарат предназначен для очистки радиационных поверхностей нагрева (экранов) энергетических котельных агрегатов от наружных отложений золы и шлака струей воды. Аппарат представляет собой устройство для ввода в топочную камеру сопловой головки с двумя диаметрально расположенными соплами, вращение этой головки и управления подачей обдувающего агента. В качестве обдувающего агента используется вода Т= ≤40ºC, Р=0,8-2 МПа. Эффективный радиус действия от 2 м. до 4м. Аппарат обдувки ОВМ монтируется непосредственно на стену котла и работает на «себя». Область очистки 360°. Расход воды 50-100 кг / мин.


Технические характеристики обдувочного маловыдвижного аппарата ОВМ
| № | Наименование параметра | Значение |
| 1 | Рабочий агент | Пар, воздух |
| 2 | Условное давление клапана, МПа | 6,4 |
| 3 | Давление, МПа | 0,8 - 2 |
| 4 | Температура воды, С° | ≤40 |
| 5 | Температура дымовых газов, С° | до 1500 |
| 6 | Массовый расход пара, кг/мин | 50~100 |
| 7 | Рабочий угол обдува ° | 360 |
| 8 | Количество сопл, шт | 2 |
| 9 | Диаметр сопла, мм | 7 ~10 / 8 |
| 10 | Ход аппарата, мм | 250 - 400 |
| 11 | Эффективный радиус, мм | 2000 - 4000 |
| 12 | Электродвигатель, кВт, об/мин, степень защиты, В/Гц | (0,25 / 0,55) / (2800 / 910) / IP55 / 220 - 380/ 50 |
| 13 | Масса, кг | 180 |
| 16 | Габариты | 636 - 1181 / 416× 780 мм |